کدخبر :260334 0 20
31 مرداد 1400 - 09:08

ابداع کلید مخفی جایگزینی برای ماوس

شرکت اپل حق امتیاز اختراع جدیدی ثبت کرده که به یک کلید مخفی در کیبورد مک بوک مربوط می‌شود و می توان از آن به جای ماوس برای اشاره دقیق به موضوعی در مانیتور استفاده کرد.

متن خبر

به گزارش سیتنا، مهر به نقل از گیزموچاینا، نوشت: حق امتیاز اختراعی جدید در آمریکا ثبت شده که نشان می‌دهد اپل مشغول توسعه یک کلید قابل حذف به عنوان اکسسوری در رایانه‌های مک بوک آینده است.

این کلید می‌تواند به عنوان ماوس دقیقی برای ناوبری روی نمایشگر به کار رود. حق امتیاز مذکور Deployable Key Mouse نام دارد و جزئیاتی درباره ظاهر این کلید و کارکرد احتمالی آن در مک بوک وجود دارد.

[node:title]

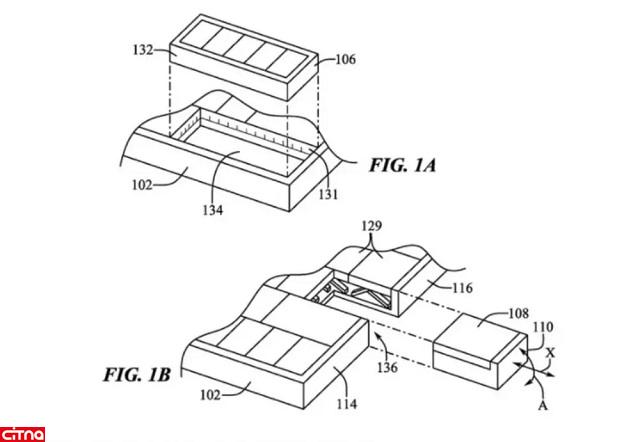
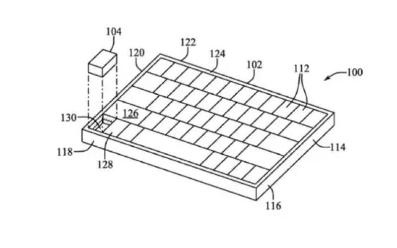
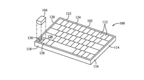
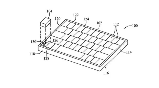
کیبورد استاندارد مک بوک در طراحی جدید حفظ می‌شود اما مجهز به یک کلید قابل حذف خواهد بود که مخفی است. این کلید در حقیقت یک حسگر موقعیت است که می‌توان از آن برای نشان دادن دقیق محتوا در رایانه استفاده کرد.

فناوری جدید برای کارهای دقیقی مانند طراحی گرافیک، طراحی با رایانه، مدلسازی و همچنین ادیت اسناد کارآمد است. این فعالیت‌ها را با ماوسی که در دست قرار می‌گیرد، بهتر می‌توان انجام داد. البته در حق امتیاز جدید این کلید نقش ماوس را بدون استفاده از سخت افزاری اضافی در مک بوک انجام می‌دهد.

طبق اطلاعات موجود در حق امتیاز، کلید مذکور با باتری کار می‌کند و در لبه کیبورد در یک منطقه مخفی قرار می‌گیرد. هیچ اطلاعات دیگری درباره قابلیت‌های دیگر این کلید منتشر نشده است.

انتهای پیام

19
نظرات خود را با ما درمیان بگذارید

افزودن دیدگاه جدید

کپچا
CAPTCHA ی تصویری
کاراکترهای نمایش داده شده در تصویر را وارد کنید.