کدخبر :204599 پرینت
20 آبان 1396 - 08:55

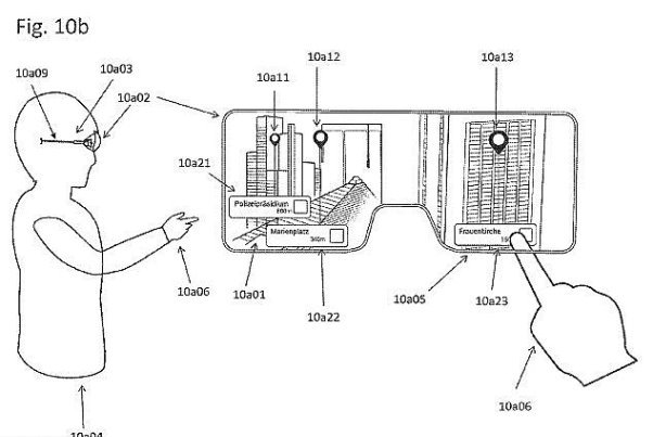
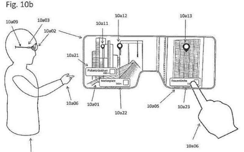
عینک واقعیت افزوده اپل ۲۰۲۰ عرضه می‌شود

اپل قصد دارد تا ۲۰۲۰ میلادی یک عینک واقعیت افزوده همراه با سیستم عامل و تراشه مخصوص خود روانه بازار کند.

متن خبر

به گزارش سیتنا به نقل از بلومبرگ، عینک‌های واقعیت افزوده اپل تا ۲۰۲۰ میلادی به بازار عرضه می‌شوند.

به گفته خبرنگار بلومبرگ، اپل تصمیم دارد این فناوری را برای هدست های واقعیت افزوده در ۲۰۱۹ آماده کند و محصول در اوایل ۲۰۲۰ میلادی برای فروش عرضه می شود.

به گفته او دستگاه اپل مجهز به نمایشگر مخصوص خود است که یک تراشه و سیستم عامل جدید دارد. این محصول که T۲۲۸نامگذاری شده مجهز به نوعی سیستم iOS اپل است که reality OS نامیده می شود.

انتهای پیام

نظرات خود را با ما درمیان بگذارید

افزودن دیدگاه جدید

کپچا
CAPTCHA ی تصویری
کاراکترهای نمایش داده شده در تصویر را وارد کنید.