آیفون 8 تاشو در راه است
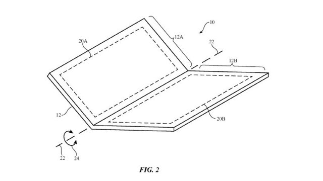
حق ثبت اختراع برای ساخت یک گوشی هوشمند تاشو به اپل تعلق گرفت.
به گزارش سیتنا به نقل از گیزمودو، سال آینده دهمین سالگرد آیفون بوده و اپل قصد دارد تا از محصولی رونمایی کند که در صدر تمامی محصولات این کشور قرار گیرد.
این شرکت از سال 2013 در فکر ساخت گوشی آیفون تاشو بوده و اکنون قصد دارد تا این طرح چندین ساله را عملی کند.
در توضیحاتی که درباره این گوشی هوشمند ارائه شده، آمده است که این گوشی از شیشه، سرامیک، فیبر، آلومینیوم و پلاستیک ساخته خواهد شد که همگی اینها در نمونههای پیشین گوشیهای شرکت اپل نیز استفاده شده است؛ اما تفاوت فاحشی که این محصول با محصولات پیشین شرکت اپل دارد، این است که در ساخت آن از نانولولههای کربنی استفاده خواهد شد که همین امر امکان تا شدن آن را میسر میکند. همچنین به غیر از نانولولههای کربنی از ابزارهای دیگری نیز برای تاشو بودن این گوشی هوشمند استفاده خواهد شد.

گفتنی است که رقیب بزرگ اپل یعنی شرکت سامسونگ نیز تاکنون آرشیو عظیمی از پتنتهای مختلف را برای ساخت گوشیهای هوشمند ارائه کرده است.
با وجود تمامی این صحبتها انتظار نمیرود که به این زودیها شاهد حضور این نسل از گوشیهای هوشمند در بازار باشیم؛ زیرا تمامی پتنتهای ارائه شده لزوما به محصول تبدیل نمیشوند.
انتهای پیام
افزودن دیدگاه جدید